SWING GLASS
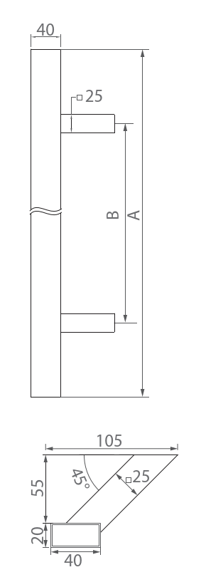
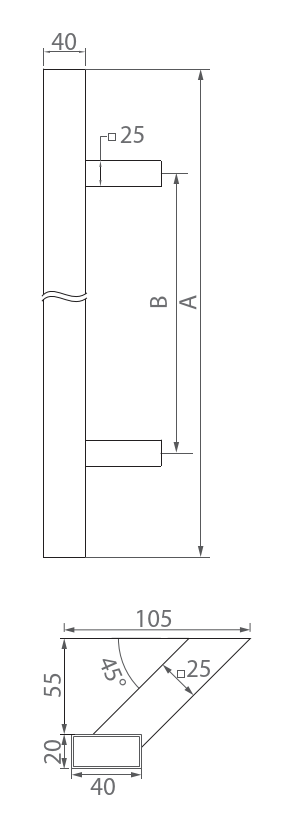
Bemutatjuk a SWING GLASS® állítható alumíniumprofilt A teljes üvegkorláthoz készült alumíniumprofilok modern és elegáns választást jelentenek otthonába vagy üzleti tereibe.Ezek a profilok kiváló minőségű alumíniumötvözetből készülnek, amely tartósságot és ellenállóképességet...





